直液式白板笔技术领域的新突破,使用时竟有这些弊端?
直液式白板笔技术领域的新突破,使用时竟有这些弊端?
1.本实用新型涉及白板笔技术领域,特别涉及一种直液式白板笔。背景技术:2.白板笔是一种在白板上进行书写的工具,类似于黑板的粉笔。这种笔是用油墨做为墨水,可写在光滑的白板上

传统白板使用的墨水常常会四处飞散,这种现象对书写质量产生了负面影响。那么,这种新型的直液式白板笔是否能够有效阻止墨水的溅出?这个问题值得我们进一步研究。
笔的结构组成
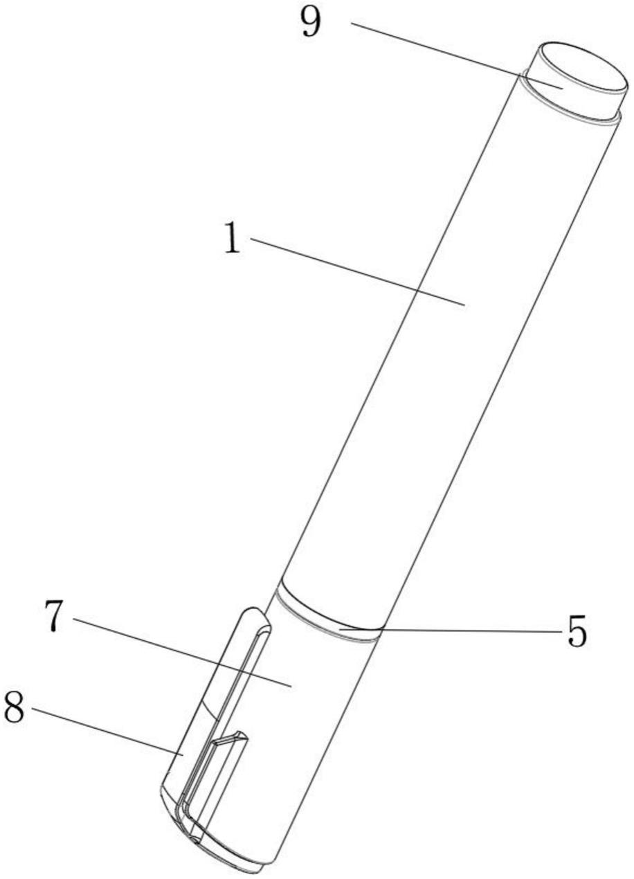
该直液式白板笔由多个部件构成,包含笔身、笔帽、储墨装置、卷包芯、导水装置以及笔尖。笔身内部设有专门的储墨区域,用于存放墨水。笔帽套在储墨区域中,其上开有一个小孔,孔中安放储墨装置。储墨装置内部亦设有空间,用于放置卷包芯。导水装置插入卷包芯内,而储墨装置的另一端则与笔尖相接。这些部件紧密配合,共同构成了这支白板笔。
各个部件各负其责,卷包芯采用海绵材料制作,这种材料能够有效吸收并保存油墨,因此能够确保书写过程中墨水的持续供应。
密封设计亮点
笔尖周围安装了三个密闭的环形装置,这些装置紧挨着墨水储存区的内侧。这样的设计极为关键,它能够有效阻止油墨在笔尖与储存空间接口处发生渗漏,确保了笔在书写和存放过程中,墨水不会溢出。
白板笔的密封性能良好,这增强了其稳定性,使用者在书写时无需担忧墨水会污损衣物或桌面,从而能更加放心地使用。
解决墨水飞溅
这款白板笔最显著的特点在于有效解决了传统直液式笔在使用时墨水容易飞溅的问题。使用时,只需将笔尖朝下,墨水便会因重力作用自动流入笔内的储墨空间。随后,墨水会沿着引水器的通孔流至卷包芯中储存。最终,墨水会渗透到笔尖内部。
卷包芯对液体油墨的运动进行了有效管理,这样便阻隔了油墨与笔尖的直接接触,进而降低了飞溅的可能性。相较于传统的白板笔,卷包芯的防漏性能得到了明显增强,因而书写体验变得更加顺畅。
书写过程展现
书写时,使用者需握紧笔杆,仅用笔尖的一小部分来书写。墨水沿着笔尖的轨迹,从储存处均匀地流向笔尖,既保证了书写的流畅性,又确保了字迹的清晰度。
问题已妥善解决,书写时墨水不再四处溅射,因此墨迹分布变得均匀,也不会不小心溅出。如此一来,无论是教师在课堂上授课,还是商务人士进行演示,书写效果都能得到保证,质量上乘。
笔帽固定方式
笔尖处装有固定的配件,笔套上设有内置的凹槽。使用时,得先取下笔套,再将笔套上的凹槽部分对准固定配件的圆形部分,以此确保笔套能够牢固地固定在笔上。
因此,笔帽不易脱落;在使用过程中,每次都能迅速封闭,确保了白板笔的清洁以及墨水的密封。
产品实用性评价
这款直液式白板笔非常实用。它的设计非常注重用户需求,密封防漏的结构、防止墨水溅出的技术以及便于固定的笔帽设计,每个细节都处理得非常细致。
学生们、老师们、还有办公人员们,都感受到了这款白板笔带来的优异书写感受。使用这款笔,书写过程变得更为便捷高效,同时,它也大大降低了因墨水问题而产生的麻烦。
在使用直液式白板笔的过程中,您是否遇到过墨水方面的问题?您可以于评论区分享您的使用感受。另外,别忘了点赞,并将这篇文章转发给更多人。